Allegro MicroSystems APS122x Hall-Effect Sensor ICs

Allegro MicroSystems APS122x Hall-Effect Sensor ICs are three-wire, planar ICs developed in accordance with ISO 26262:2011. These sensor ICs feature AEC-Q100 qualification and are ideal for high-temperature operation up to 175°C junction temperatures. The APS122x sensor ICs include features explicitly designed to maximize system robustness, such as reverse battery protection, output current limiter, overvoltage, and EMC protection. These Hall-effect sensor ICs include onboard transient protection for all pins, permitting operation directly from a vehicle battery or regulator with supply voltages from 2.8V to 24V. The APS122x sensor ICs come in through-hole and surface mounting packages.

Features

  • Automotive-grade ruggedness and fault tolerance:
    • Extended AEC-Q100 qualification
    • Reverse-battery and 40V load dump protection
    • -40°C to 175°C operating junction temperature range
    • High EMC immunity and ±12kV HBM ESD
    • Output short-circuit and overvoltage protection
    • Superior temperature stability
    • Resistant to physical stress
  • Symmetrical latch switch points
  • ASIL A functional safety compliance (pending assessment)
  • 2.8V to 24V supply voltage range
  • Chopper stabilization
  • Solid-state reliability
  • Industry-standard packages and pinouts

Specifications

  • Absolute maximum ratings:
    • 30V forward supply voltage (VCC)
    • –18V reverse supply voltage (VRCC)
    • 30V output off voltage (VOUT)
    • 60mA output current (IOUT)
    • –50mA reverse output current (IROUT)
    • –65°C to 170°C storage temperature range (Tstg)
  • 800kHz chopping frequency (fC)
  • 1mA to 3mA supply current range (ICC)
  • 10µA maximum output leakage current (IOUTOFF) at VOUTOFF=24V, B<BRP

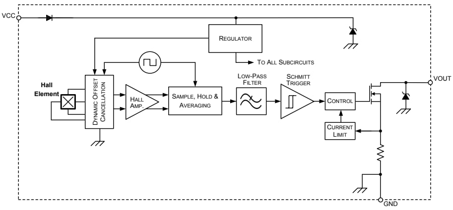
Functional Block Diagram

Block Diagram - Allegro MicroSystems APS122x Hall-Effect Sensor ICs

Typical Application Diagram

Application Circuit Diagram - Allegro MicroSystems APS122x Hall-Effect Sensor ICs
View Results ( 9 ) Page
Part Number Package/Case Packaging Standard Pack Qty
APS12200LUAA HUA-3 Bulk 4000
APS12210LLHALT ZLH-3 Reel 3000
APS12230LLHALT ZLH-3 Reel 3000
APS12200LLHALT ZLH-3 Reel 3000
APS12210LLHALX ZLH-3 Reel 10000
APS12200LLHALX ZLH-3 Reel 10000
APS12210LUAA HUA-3 Bulk 4000
APS12230LLHALX ZLH-3 Reel 10000
APS12230LUAA SIP-3 Bulk 4000
Published: 2023-03-29 | Updated: 2023-05-15