Allegro MicroSystems APS1329x Planar Hall-Effect Sensor ICs

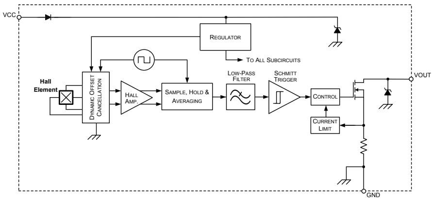
Allegro MicroSystems APS1329x Planar Hall-Effect Sensor ICs are especially suited for operating over extended temperature ranges up to +125°C. APS1329x ICs possess many features designed to maximize system robustness, such as reverse-polarity protection, output current limiter, overvoltage, and EMC protection. These devices feature onboard transient protection for all pins, permitting operation directly from a vehicle battery or regulator with a 2.8V to 24V supply voltage range. The single silicon chip includes a voltage regulator, Hall plate, chopper stabilization, small signal amplifier, Schmitt trigger, and a short-circuit-protected open-drain circuit. A south pole of sufficient strength shifts on the output, while a north pole of sufficient strength is necessary to turn off the output. Allegro MicroSystems APS1329x Sensor ICs are ideal for industrial and consumer applications and offer a junction temperature range of -40°C to +175°C.

Features

  • Symmetrical latch switch points
  • Superior ruggedness and fault tolerance
  • Reverse-polarity and transient protection
  • Output short-circuit and overvoltage protection
  • Superior temperature stability
  • Resistant to physical stress
  • High EMC immunity
  • Chopper stabilization
  • Solid-state reliability
  • Industry-standard packages and pinouts

Specifications

  • ±12kV HBM ESD immunity
  • Operation from unregulated supplies, 2.8V to 24V
  • 30V forward supply voltage
  • 60mA output current
  • 800kHz chopping frequency
  • –40°C to +175°C junction temperature
  • Packages
    • Modified 3-pin SOT23W surface mounting (LH)
    • 3-pin ultra-mini SIP for through-hole mounting (UA)

Functional Block Diagram

Allegro MicroSystems APS1329x Planar Hall-Effect Sensor ICs
Published: 2023-05-16 | Updated: 2023-12-13