Analog Devices / Maxim Integrated MAX5725 12-Bit 8-Channel DACs

Analog Devices MAX5725 12-bit, 8-channel, Digital-to-Analog Converters (DACs) feature output buffers and an internal 3ppm/°C reference that is selectable at 2.048V, 2.500V, or 4.096V. MAX5725 accepts a wide supply voltage range of 2.7V to 5.5V with extremely low power (6mW) consumption to accommodate most low-voltage applications. A precision external reference input allows rail-to-rail operation and presents a 100kΩ (typ) load to an external reference. ADI MAX5725 DAC has a fast 50MHz, 4-wire SPI/QSPI™/MICROWIRE®/DSP-compatible serial interface that operates at clock rates up to 50MHz. The DAC output is buffered and has a low supply current of less than 250µA per channel and a low offset error of ±0.5mV (typ). The Analog Devices MAX5725 12-Bit 8-Channel DACs feature a programmable watchdog function that can be enabled to monitor the I/O interface for activity and integrity.

Features

  • Eight high-accuracy DAC channels
    • 12-Bit accuracy without adjustment
    • ±1 LSB INL buffered voltage output
    • Guaranteed monotonic over all operating conditions
    • Independent mode settings for each DAC
  • Three precision selectable internal references
    • 2.048V, 2.500V, or 4.096V
  • Internal output buffer
    • Rail-to-rail operation with external reference
    • 4.5µs Settling time
    • Outputs directly drive 2kΩ loads
  • Wide 2.7V to 5.5V supply range
  • Separate 1.8V to 5.5V VDDIO power-supply input
  • Fast 50MHz 4-wire SPI/QSPI/MICROWIRE/DSP-compatible serial interface
  • Programmable interface watchdog timer
  • Pin-selectable power-on-reset to zero-scale or midscale DAC output
  • Active-low LDAC and active-low CLR For asynchronous DAC control
  • Three selectable power-down output impedances
    • 1kΩ, 100kΩ, or high impedance

Applications

  • Automatic tuning and optical control
  • Gain and offset adjustment
  • Portable instrumentation
  • Power amplifier control and biasing
  • Process control and servo loops
  • Programmable voltage and current sources

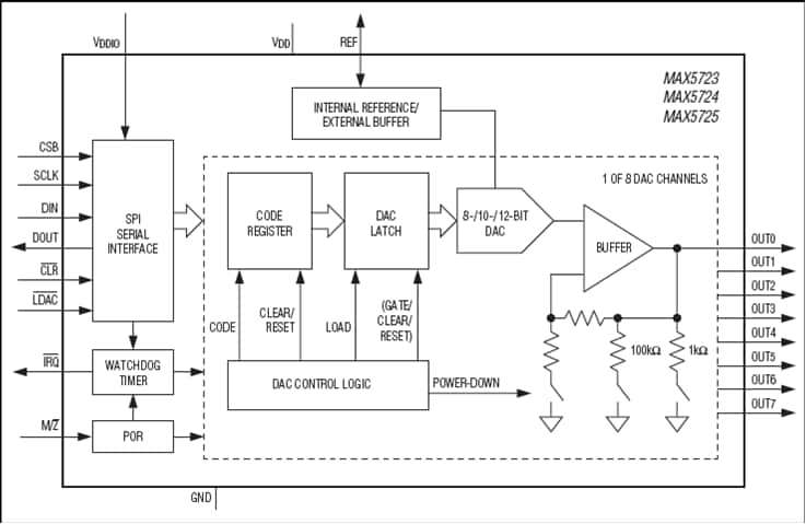
Functional Diagram

Analog Devices / Maxim Integrated MAX5725 12-Bit 8-Channel DACs
Published: 2012-05-17 | Updated: 2023-04-14