APEM 3500 Series High-Performance Toggle Switches
APEM 3500 Series High-Performance Toggle Switches feature single- and dual-pole configurations with solder-lug, screw, or quick-connect terminals. These robust toggle switches are designed for outdoor applications and stand up to harsh environments. The completely sealed construction withstands 0.1bar pressure. The frontal sealing offers IP67 and IP69K protection via a silicone membrane, while the rear sealing with molded-in terminals provides an IP64 rating. The 3500 series is available in a wide variety of lever styles with brass, nickel- or chrome-plated, and anodized aluminum actuators that deliver 40,000 cycles of mechanical life. APEM 3500 Series High-Performance Toggle Switches operate in a temperature range of -40°C to +85°C.Features
- Completely sealed switches withstanding 0.1bar pressure
- Frontal sealing to IP67 and IP69K by silicone membrane (for sealed panel mounting, add U60 washer)
- Rear sealing to IP64 provided by molded-in terminal inserts
- Wide variety of lever styles
- Solder-lug, screw, and quick-connect terminal types available
- Approved to European standards CECC 96000
Applications
- Outdoors
- Harsh environments
Specifications
- 1 or 2 poles
- 15A maximum current
- 10mΩ maximum initial contact resistance at 1A 2VDC
- 1000MΩ minimum insulation resistance at 500VDC
- Dielectric strength
- 2500Vrms 50Hz minimum between terminals
- 3000Vrms 50Hz minimum between terminals and frame
- 40,000 cycles of mechanical life
- UL 94-V0 mineral filled polyester case
- Brass, nickel or chrome plated, or anodized aluminum actuator
- Silver alloy contacts
- 56-day moisture resistance
- 2Nm (1.47ft-lb) maximum torque applied to nut
- -40°C to +85°C operating temperature range
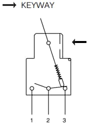
Electrical Overview
Terminals
Electrical Functions
Panel Cut-Out
Lever styles
Published: 2024-10-23
| Updated: 2024-12-03
