BJB 47.121 Smart Lighting Receptacle

BJB 47.121 Smart Lighting Receptacle is an electromechanical interface for smart outdoor luminaires designed according to Zhaga Book 18 to accommodate communication and sensor units. The 47.121 Smart Lighting Receptacle features a compact design for a flexible mounting position in the luminaire housing. The IP-66 compliant receptacle and sealing cap provide protection from the elements. The unit provides a complete electrical interface between the receptacle and the respective sensor modules. When used in conjunction with sensor-compatible certified drivers, the receptacle assembly is suitable for a plug-in sensor module with a twist-lock system.

The BJB 47.121 Smart Lighting Receptacle is offered as a complete unit (47.121.1003.80), with a sealing cap, connecting socket, O-seal, lock washer, and locknut. The individual components can also be purchased separately as needed.

Features

  • Conforms to Zhaga Book 18 standards
  • Quick assembly
  • Robust design
  • IP-compliant receptacle with a sealing cap
  • Modular design allows for customization
  • Ideal for plug-in sensor modules

Applications

  • Street and area lighting
  • Parking area and footpath lighting
  • Outdoor lighting
  • Wall lights

Specifications

  • Materials
    • Sealing cap: PBT
    • Receptacle with an attached flat seal: PBT/PC
    • Lock washer: Steel zinc plated
    • Lock nut: PA
  • IP-66 ingress rating
  • M20 x 1.5mm thread
  • 18.5 thread length
  • IK09 impact strength grade
  • 10mm height above the luminaire
  • 6mm maximum luminaire housing thickness
  • 2A maximum current rating
  • 24V maximum voltage rating
  • 0.5mm to 15mm flexible tinned wire
  • 0.5mm to 15mm solid wire
  • 8mm to 15mm strip length
  • 3mm maximum insulation diameter
  • 16AWG to 20AWG lead

Videos

Exploded View

BJB 47.121 Smart Lighting Receptacle

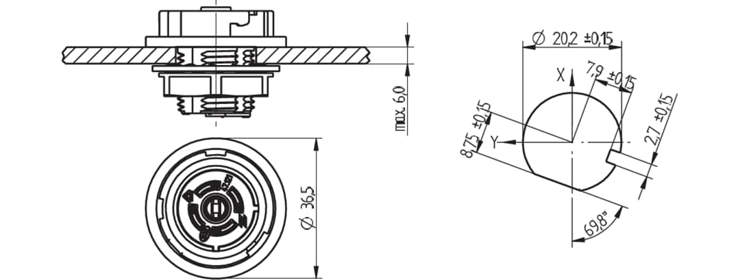
Assembly Dimensions & Cut-Out

Mechanical Drawing - BJB 47.121 Smart Lighting Receptacle
Published: 2022-09-22 | Updated: 2022-09-26