Diodes Incorporated AP43771 High-Performance USB Type-C PD Controller
Diodes Inc. AP43771 High-Performance USB Type-C™ Power Delivery Controller is targeted for USB-Type-C adapter and charger applications. Diodes Inc. AP43771 is compatible with Qualcomm QC4/QC4+ protocol, which supports USB Power Delivery specification Rev3.0 V1.2 (including Optional PPS Support). The AP43771 can support PPS APDO (Augmented Power Data Object) with 20mV/step voltage resolution and 50mA/step current resolution for power management. Additionally, cable-loss compensation and SOP’ command for e-Marker detection is embedded too. The AP43771 can provide a robust protection scheme with built-in OVP/OCP/SCP/OTP features.Features
- Compatible with USB PD Rev3.0 V1.2
- USB-IF PD3.0/PPS certificated TID = 1090028
- Qualcomm QC4/4+ protocol certificated
- OTP (One-Time-Programmable) for main firmware
- MTP (Multi-Time-Programmable ) for system configuration
- Built-in regulator for CV and CC control
- Support SCP/OTP/OVP/UVP with auto-restart
- Support power-saving mode
- External N-MOSFET control for VBUS power delivery
- Support e-marker cable detection
- 3.3V to 20V operating voltage range
- Fewest external component count
- Lead-free & fully RoHS compliant
- Halogen and antimony free “Green” device
Applications
- USB Type-C adapter/charger
- USB PD converter
Infographic
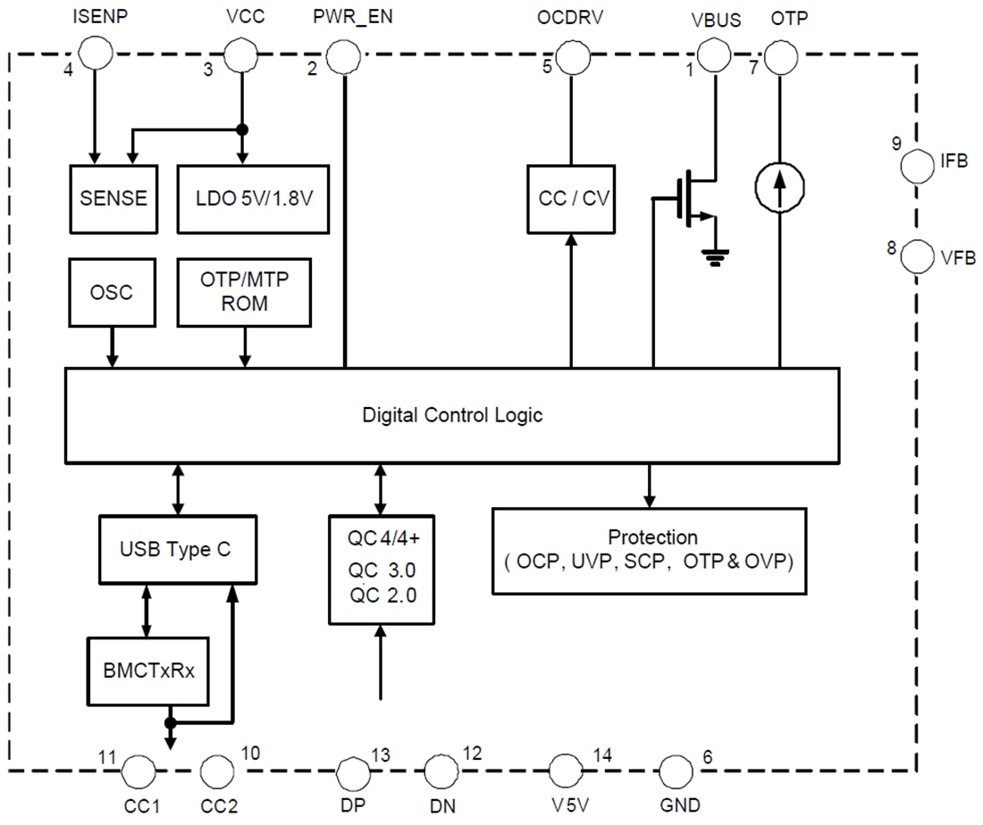
Functional Block Diagram
Published: 2020-01-17
| Updated: 2024-07-03
