Infineon Technologies ILDx DC-DC LED Driver ICs for High Power LEDs

Infineon Technologies ILDx DC-DC LED Driver ICs for High Power LEDs are hysteretic  buck ICs designed to drives high power LEDs for general lighting. These ICs  support currents from 150mA to 3A, making them the ideal choice for high- and ultra-high-power LEDs. Efficiency can be as high as 98% across a wide range of operation conditions. Both PWM (Pulse Width Modulation) and Analog Voltage dimming options are available. Integrated smart thermal protection, along with overvoltage and overcurrent protection, contribute to a longer LED lifetime.

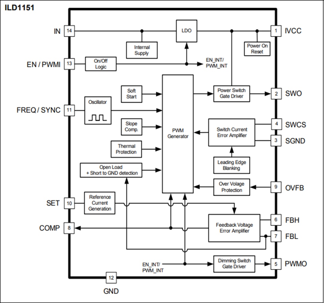
With the ILD4000 and ILD6000 families Infineon provides highly integrated smart LED buck controllers for high power LEDs. The ILD4000 series offers a breakdown voltage of 40V and basic thermal protection. The ILD6000 provides a breakdown voltage of 60V and advanced thermal protection. TheĀ ILD1151, a multi-topology high power DC-DC controller IC with built in protection features, offers a wide range of flexible dimming options.

Features

  • 4.5V to 60V wide usable input voltage
  • Compatible with a big variety of LEDsĀ 
  • Provides both PWM or analog dimming options
  • Up to 98% high-efficiency
  • 3000:1 contrast ratio
  • Advanced thermal protection
  • Adjustable thermal protection trigger point
  • Small PG-DSO-8 exposed pad package
  • No need for external NTC or PTC
  • No change in light color during thermal protection mode

Applications

  • LED driver for general lighting
  • Retail, office, and residential downlights
  • Street and tunnel lighting
  • LED ballasts

Videos

Block Diagrams

Published: 2014-10-07 | Updated: 2025-02-12