NXP Semiconductors TJA1104 MACsec Enabled 100BASE-T1 Ethernet PHY

NXP Semiconductors TJA1104 MACsec Enabled 100BASE-T1 Ethernet PHY Transceivers address the security concerns for future networks and provide an efficient HW-based solution with MACsec. NXP TJA1104 is ASIL B Compliant. TJA1104 complies with all state-of-the-art conformance test specifications and is designed according to ISO 26262 to meet ASIL B, providing enhanced monitoring and diagnostic features. The AEC-Q100-compliant devices integrate OPEN Alliance TC-10 compliant wake-up forwarding over the Ethernet data line. TJA1104 is drop-in compatible with TJA1103 and TJA1120 to enable scalable platform designs.

Features

  • IEEE 802.1AE-2018 MACsec at full wireline performance
  • Functional safety ISO 26262 ASIL B compliant
  • IEEE802.3bw compliant 100BASE-T1 PHY
  • OPEN Alliance TC-1 advanced PHY features
  • IEEE1588v2 / 802.1AS compliant time stamping
  • OPEN Alliance TC-10 compliant sleep/wake-up
  • Single supply capability
  • HVQFN36 (6mm x 6mm) package with wettable flanks
  • Optimized for automotive use cases
  • Includes startup self-test
  • Compliant to AEC-Q100 Grade 1
  • 3.3V single supply capability

Applications

  • Radar systems
  • Sound systems
  • Vision systems and cameras
  • Car radio
  • E-cockpit and head units
  • Remote tuners
  • TCU
  • Gateways and domain controllers

Videos

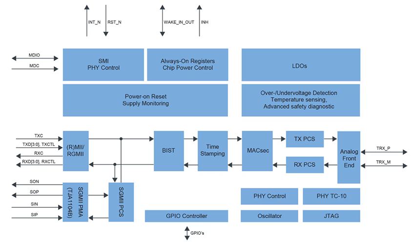
Block Diagram

Block Diagram - NXP Semiconductors TJA1104 MACsec Enabled 100BASE-T1 Ethernet PHY
Published: 2024-11-19 | Updated: 2025-10-15