Skyworks Solutions Inc. SKY5A1007 RF Switch IC

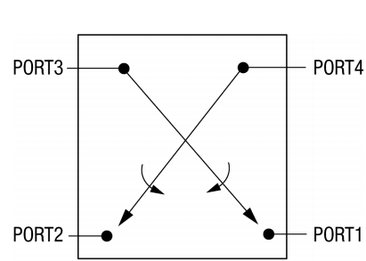
Skyworks Solutions Inc. SKY5A1007 RF Switch IC is a state-of-the-art CMOS, Silicon-On-Insulator (SOI), and Double-Pole Double-Throw (DPDT) switch. The SKY5A1007 switch provides high-linearity performance, low insertion loss, and high isolation. This switch supports automotive Production Parts Approval Process (PPAP) and International Material Data System (IMDS) material declaration. The SKY5A1007 switch is controlled by one voltage input (CNTRL 1) and comes with PORT1, PORT2, PORT3, and PORT4. Depending on the logic voltage level applied to the CNTRL 1 pin. The PORT1 and PORT2 pins connect to one of the two other RF port pins (PORT3 or PORT4) through a low insertion loss path.

The SKY5A1007 switch features independent BOM management to minimize PCN risk, GSM power handling, and 0.4GHz to 5.9GHz broadband frequency range. This SKY5A1007 DPDT switch comes in a compact Quad Flat No-Lead (QFN) 12-pin package and available in 1.83mm x 1.83mm x 0.5mm dimensions. The RF switch operates from -40°C to 105°C temperature range. Typical applications include automotive 4G LTE/5G/CV2X/11p telematics systems and main/diversity antenna swapping.

Features

  • Support for automotive PPAP
  • Support for IMDS material declaration
  • Independent BOM management to minimize  Product Change Notification (PCN) risk
  • -40°C to 105°C extended operating temperature
  • 0.4GHz to 5.9GHz broadband frequency range
  • Low insertion loss:
    • 0.7dB (typical) @ CV2X/11p frequency (5.75GHz to 5.925GHz)
  • 30dB @ 3.8GHz high isolation
  • GSM power handling
  • 12-pin, 1.83mm x 1.83mm x 0.5mm dimensions
  • Small QFN package (MSL1 and 260°C per JEDEC J-STD-020)

Applications

  • Automotive:
    • 4G LTE/5G/CV2X/11p telematics systems
  • Cellular telematics
  • Cellular compensator

Block Diagram

Block Diagram - Skyworks Solutions Inc. SKY5A1007 RF Switch IC
Published: 2020-06-02 | Updated: 2022-03-11