Texas Instruments AWR1243 76GHz to 81GHz mmWave Automotive MMIC

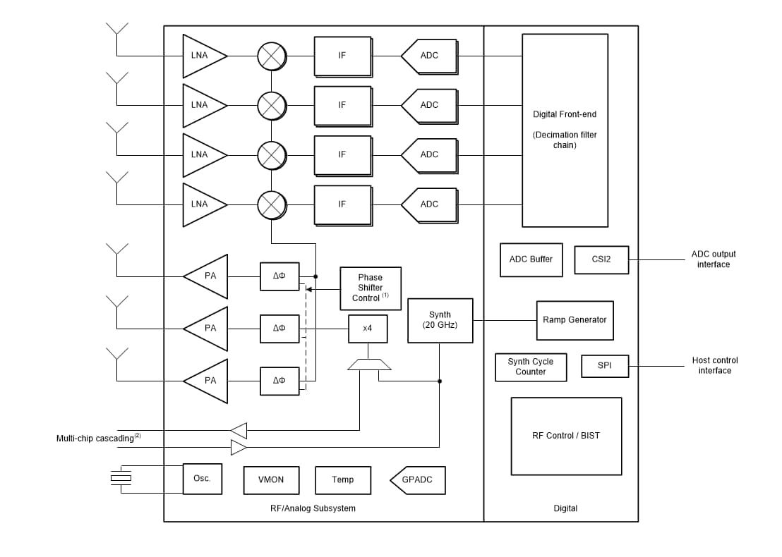
Texas Instruments AWR1243 76GHz to 81GHz mmWave Automotive MMIC is an integrated single-chip FMCW transceiver in an extremely small form factor. The AWR1243 MMIC is an ideal solution for low-power, self-monitored, ultra-accurate radar systems in the automotive space. The device is built on TI's low-power 45nm RFCMOS process, which enables a monolithic implementation of a 3TX, 4RX system with built-in PLL and A2D converters. Simple programming model changes can enable a wide variety of sensor implementations (Short, Mid, Long) with the possibility of dynamic reconfiguration for implementing a multimode sensor. The AWR1243 is provided as a complete platform solution, including reference hardware design, software drivers, sample configurations, API guide, and user documentation.

Features

  • FMCW Transceiver
    • Integrated PLL, transmitter, receiver, baseband, and A2D
    • 76GHz to 81GHz Coverage with 4GHz available bandwidth
    • Four receive channels
    • Three transmit channels (Two channels simultaneously for AWR1243 and all three channels simultaneously for AWR1243P)
    • Ultra-accurate chirp engine based on fractional-N PLL
    • 12dBm TX Power
    • RX Noise figure:
      • 14dB (76 to 77GHz)
      • 15dB (77 to 81GHz)
    • Phase noise at 1MHz:
    • –95dBc/Hz (76GHz to 77GHz)
    • –93dBc/Hz (77GHz to 81GHz)
  • Built-in calibration and self-test
    • Built-in firmware (ROM)
    • Self-calibrating system across frequency and temperature
  • Host interface
    • Control interface with an external processor over SPI
    • Data interface with external processor over MIPI D-PHY and CSI2 V1.1
    • Interrupts for fault reporting
  • AWR1243 Advanced features
    • Embedded self-monitoring with no host processor involvement
    • Complex baseband architecture
    • Option of cascading multiple devices to increase channel count
    • Embedded interference detection capability
  • Power management
    • Built-in LDO network for enhanced PSRR
    • I/Os Support dual voltage 3.3V/1.8V
  • Clock source
    • Supports externally driven clock (square/sine) at 40MHz
    • Supports 40MHz crystal connection with load capacitors
  • Easy hardware design
    • 0.65mm Pitch, 161-pin 10.4mm × 10.4mm flip chip BGA package for easy assembly and low-cost PCB design
    • Small solution size
  • Supports automotive temperature operating range
  • ASIL B Targeted
  • AEC-Q100 Qualified

Applications

  • Automated highway driving
  • Automatic emergency braking

Block Diagram

Block Diagram - Texas Instruments AWR1243 76GHz to 81GHz mmWave Automotive MMIC
Published: 2018-12-17 | Updated: 2023-07-24