Texas Instruments DLP160AP 0.16 QnHD DLP® Digital Micromirror Device
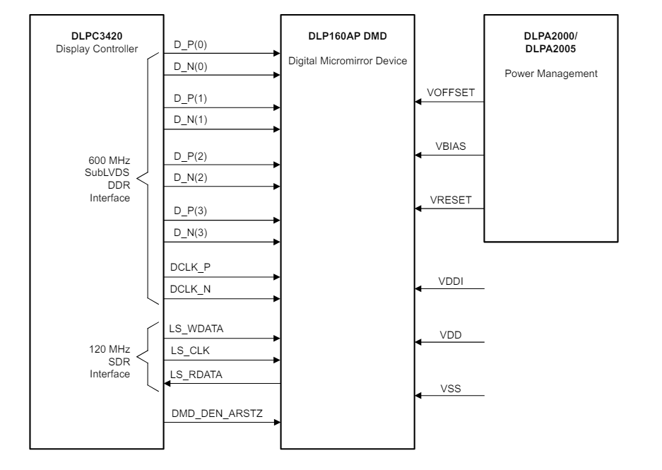
Texas Instruments DLP160AP 0.16" QnHD DLP® DMD is a digitally controlled micro-opto-electromechanical system (MOEMS) spatial light modulator (SLM). The DLP160AP digital micromirror device (DMD) combined with an appropriate optical system displays a crisp and high-quality image or video.The TI DLP160AP is part of the DLP160AP DMD and DLPC3420 controller chipset. The DLPA2000 or DLPA2005 PMIC/LED driver also supports the chipset. The compact size of the DLP160AP is ideal for portable equipment where a small form factor and low power are essential. The DLP160AP DMD, combined with the controller and PMIC/LED driver, supplies a complete system solution that allows a small form factor, low power, and high image-quality displays.
Features
- Ultra-compact 0.16" (3.965mm) diagonal micromirror array
- Displays 320 × 180 resolution
- 5.4µm micromirror pitch
- 17° micromirror tilt (relative to a flat surface)
- Side illumination for optimal efficiency and optical engine size
- Polarization-independent aluminum micromirror surface
- 4-Bit SubLVDS input data bus
- Dedicated DLPC3420 display controller and DLPA2000 or DLPA2005 PMIC/LED driver for reliable operation
Applications
- Display:
- Ultra-mobile, ultra-low power pico projectors
- Phone, tablet, and laptop
- Smart display
- Smart home
- Augmented reality glasses
- Informational display
Simplified Application
Block Diagram
Published: 2024-06-21
| Updated: 2024-07-10
