Texas Instruments DRV81545 Four-Channel Low-Side Switch Driver
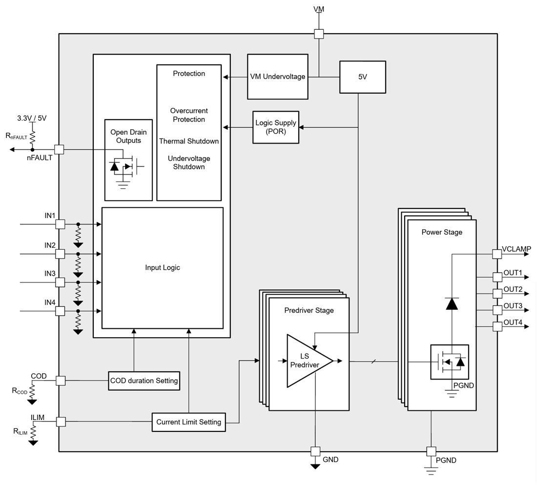
Texas Instruments DRV81545 Four-Channel Low-Side Switch Driver operates from 4.5V to 55V and supports a wide range of load currents. The device integrates four low-side switches with an RDS(ON) of 235mΩ, each with a freewheeling diode to the VCLAMP pin. This feature allows the user to either recirculate current or connect an external TVS for inductive load turn-off.
The Texas Instruments DRV81545 can be controlled through a hardware GPIO interface. Each channel features individual overtemperature protection, and an analog current limit adjustable with an external resistor on the ILIM pin. There is an optional cut-off delay (COD) configuration that limits the duration of a current-limiting condition on the respective channel, helping to prevent damage to the device or the load. Faults are indicated on a fault output pin (nFAULT).
Features
- Four-channel integrated low-side switches
- 235mΩ RDS(ON) at 25°C
- Output stage 55V operating maximum (60V absolute maximum)
- 4.5V low minimum operating supply voltage range with stable RDS(ON) across voltage
- Selectable current limit from 0.5A up to 3A per channel
- Integrated catch diodes for flexible decay (external TVS/Zener) as an alternate current path on switch turn-off
- Hardware INx interface for fast switching up to 250kHz
- Diagnostic feedback with an MCU fault interrupt signal (nFAULT)
- Thermally enhanced surface mount package (PWP20)
- Protection features
- User-settable current limit
- Independent overtemperature, overcurrent protection for each switch
- Configurable over-current cut-off delay (COD)
Applications
- PLC
- Distributed I/O
- Field devices
- General relay and solenoid drive
- Textile machines
Functional Block Diagram
