Texas Instruments DS90C189-Q1 LVDS Serializers

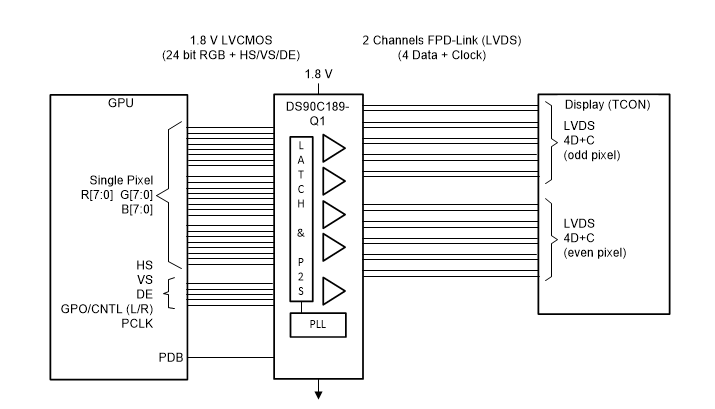
Texas Instruments DS90C189-Q1 1.8V FPD-Link (LVDS) Serializers offer a low-power bridge and are designed for automotive applications. The low-power bridge supports single-pixel data transmission between a Host and a Flat Panel Display while using resolutions of up to QXGA (2048x1536) at 60Hz. The transmitter converts up to 24-bits (Single Pixel 24-bit color) of 1.8V LVCMOS data into two channels. These channels consist of 4 data + clock (4D+C) reduced width interface LVDS compatible data streams. The DS90C189-Q1 supports two modes of operation, single pixel in/out mode, and single pixel in/dual pixel out mode. The device in the single pixel in/out mode can drive up to SXGA+ (1400x1050) at 60Hz, in single pixel in/dual pixel out mode the device can drive up to WUXGA+ (1920x1440) at 60Hz. The DS90C189-Q1 devices are AEC-Q100 qualified for automotive applications.

Features

  • AEC-Q100 Qualified for Automotive Applications with the Following Specifications:
    • Device Temperature Grade 2: –40°C to +105°C Ambient Operating Temperature
    • Device HBM ESD Classification Level ±8kV
    • Device CDM ESD Classification Level ±750V
  • 150mW Typical Power Consumption at 185MHz (SIDO mode)
  • Two Operating Modes:
  • Single Pixel In, Single Pixel Out (SISO): 105MHz Maximum
  • Single Pixel In, Dual Pixel Out (SIDO): 185MHz Maximum
  • Supports 3D+C, 4D+C, 6D+C, 6D+2C, 8D+C, and 8D+2C LVDS Configurations
  • Compatible With FPD-Link Devices
  • Operates Off a Single 1.8V Supply
  • Drives QXGA and WQXGA Class Displays
  • Supports 24-Bit RGB
  • Interfaces Directly With 1.8V LVCMOS
  • Less Than 10mW Power Consumption in Sleep Mode
  • Spread Spectrum Clock Compatible
  • Small 9mm×9mm×0.9mm 64-Pin VQFN Package

Applications

  • Camera Monitor Systems (CMS)
  • Automotive Head Unit
  • Smart Mirror
  • Cluster

Block Diagram

Block Diagram - Texas Instruments DS90C189-Q1 LVDS Serializers

Videos

Published: 2018-08-28 | Updated: 2025-03-06