Texas Instruments LMK5C22212A Network Synchronizer
Texas Instruments LMK5C22212A Network Synchronizer is a high-performance jitter cleaner and network synchronizer designed to meet the stringent requirements of wireless communications and infrastructure applications. The network synchronizer integrates two DPLLs to provide hitless switching and jitter attenuation with programmable loop bandwidth and no external loop filters, maximizing flexibility and ease of use. Each DPLL phase locks a paired APLL to a reference input.APLL1 features ultra-high performance PLL with TI's proprietary Bulk Acoustic Wave (BAW) technology (known as the BAW APLL). It can generate output clocks with 40fs (typ.)/60fs (max.) 12kHz to 20MHz RMS jitter at 491.52MHz, independent of the jitter and frequency of the XO and DPLL reference inputs. APLL2/DPLL2 provides an option for a second frequency and/or synchronization domain.
Reference validation circuitry monitors the DPLL reference clocks and performs a hitless switch between inputs upon detecting a switchover event. Zero-Delay Mode (ZDM) and phase cancellation can be enabled to control the phase relationship from input to output. The device is fully programmable through SPI or I2C. The integrated EEPROM can be used to customize system start-up clocks. The device also features factory default ROM profiles as fallback options.
Features
- Ultra-low jitter BAW VCO-based wireless infrastructure and Ethernet clocks
- 40fs (typ.)/57fs (max.) RMS jitter at 491.52MHz
- 50fs (typ.)/62fs (max.) RMS jitter at 245.76MHz
- Two high-performance Digital Phase Locked Loops (DPLLs) with two Analog Phase Locked Loops (APLLs)
- Programmable DPLL loop filter bandwidth from 1mHz to 4kHz
- < 1ppt DCO frequency adjustment step size
- Two differential or single-ended DPLL inputs
- 1Hz (1PPS) to 800MHz input frequency
- Digital holdover and hitless switching
- 12 differential outputs with programmable HSDS, AC-LVPECL, LVDS, and HSCL formats
- Up to 16 total frequency outputs when configured with six LVCMOS frequency outputs on OUT0_P/N, OUT1_P/N, GPIO1, and GPIO2 and 10 differential outputs on OUT2_P/N to OUT11_P/N
- 1Hz (1PPS) to 1250MHz output frequency with programmable swing and common mode
- PCIe Gen 1 to 6 compliant
- I2C or 3-wire/4-wire SPI
Applications
- 4G and 5G wireless networks
- Active Antenna System (AAS), mMIMO
- Macro Remote Radio Unit (RRU)
- CPRI/eCPRI Baseband, Centralized, Distributed Units (BBU, CU, DU)
- Small cell base station
- SyncE (G.8262), SONET/SDH (Stratum 3/3E, G.813, GR-1244, GR-253), IEEE-1588 PTP secondary clock
- Jitter cleaning, wander attenuation, and reference clock generation for 112G/224G PAM4 SerDes
- Optical Transport Networks (OTN G.709)
- Broadband fixed line access
- Industrial (test and measurement)
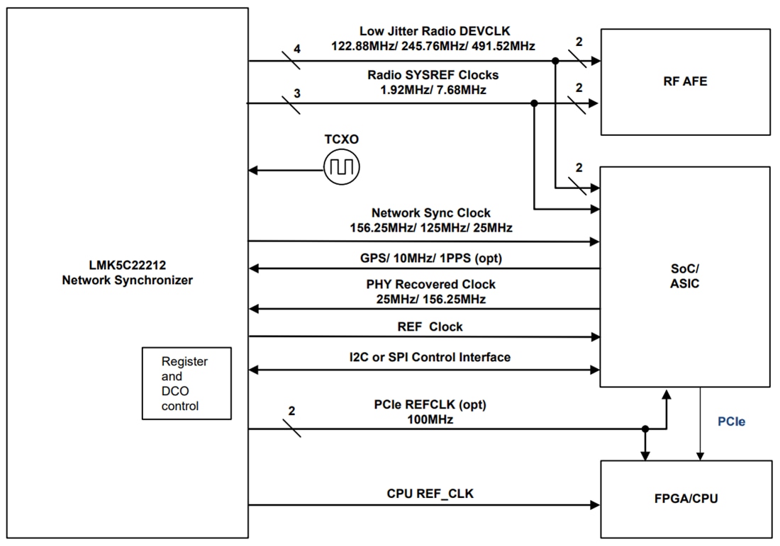
System Block Diagram
