Texas Instruments MSP430F21x2 16-Bit Ultra-Low-Power MCUs
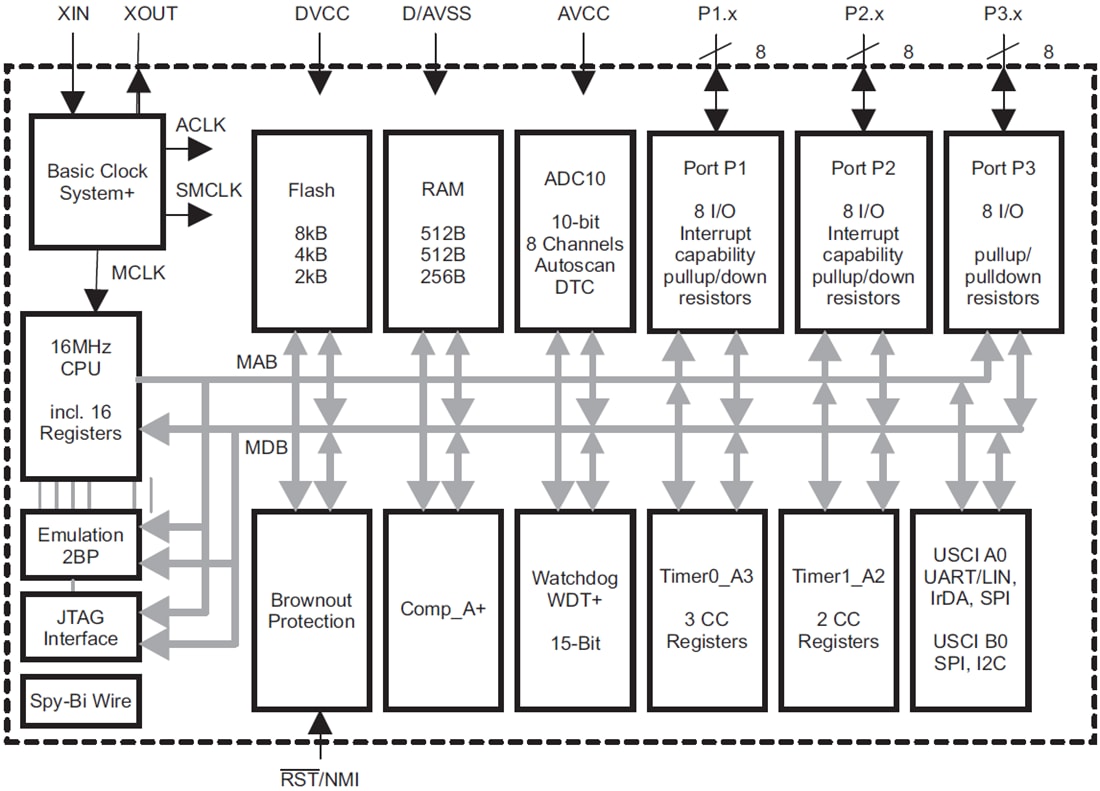
Texas Instruments MSP430F21x2 16-Bit Ultra-Low-Power Microcontrollers (MCUs) are part of the MSP430 family of microcontrollers. These MCUs have an architecture combined with five low-power modes optimized to achieve extended battery life in portable measurement applications. The device features a powerful 16-bit RISC CPU, 16-bit registers, and constant generators, contributing to maximum code efficiency. The digitally controlled oscillator (DCO) allows wake-up from low-power modes to active mode in less than 1µs.The MSP430F21x2 has two built-in 16-bit timers, a fast 10-bit A/D converter with integrated reference, and a data transfer controller (DTC). It also includes a comparator, built-in communication capability using the universal serial communication interface, and 24 I/O pins. The Texas Instruments MSP430F21x2-EP devices have gold bond wires, a temperature range of –55 to +105°C, and an SnPb lead finish.
Features
- 1.8V to 3.6V low supply voltage range
- Ultra-low power consumption
- Active mode: 250µA at 1MHz, 2.2V
- Standby mode: 0.7µA
- Off mode (RAM retention): 0.1µA
- Ultra-fast wake-up from standby mode in less than 1µs
- 16-bit RISC architecture, 62.5ns instruction cycle time
- Basic clock module configurations
- Internal frequencies up to 16MHz with four calibrated frequencies to ±1%
- Internal very-low-power low-frequency oscillator
- 32kHz crystal
- High-Frequency (HF) crystal up to 16MHz
- Resonator
- External digital clock source
- External resistor
- 16-bit Timer0_A3 with three capture/compare registers
- 16-bit Timer1_A2 with two capture/compare registers
- On-chip comparator for analog signal compare function or slope analog-to-digital (A/D) conversion
- 10-bit 200ksps A/D converter with internal reference, sample-and-hold, auto-scan, and data transfer controller
- Universal serial communication interface
- Enhanced UART supporting auto-baud rate detection (LIN)
- IrDA encoder and decoder
- Synchronous SPI
- I2C™
- Brownout detector
- Serial onboard programming, no external programming voltage needed, programmable code protection by security fuse
- Bootstrap loader
- On-chip emulation module
- Family members include
- MSP430F2132: 8KB + 256B Flash memory, 512B RAM
- MSP430F2122: 4KB + 256B Flash memory, 512B RAM
- MSP430F2112: 2KB + 256B Flash memory, 256B RAM
- Available in 28-pin TSSOP (PW) and 32-Pin QFN (RHB or RTV) packages
Functional Block Diagram
Published: 2019-01-25
| Updated: 2025-06-06
