Texas Instruments TMP1827 Digital Temperature Sensor

Texas Instruments TMP1827 Digital Temperature Sensor is a high-accuracy, 1-Wire compatible digital output temperature sensor with integrated 2Kb EEPROM. The device also includes an SHA-256-HMAC authentication scheme and a wide operating temperature range from –55°C to +150°C. The TMP1827 provides a high accuracy of ±0.1°C (typical)/±0.2°C (maximum) across the temperature range of +10°C to +45°C. Each device has a factory-programmed 64-bit unique identification number for addressing and NIST traceability. The Texas Instruments TMP1827 supports standard speeds for legacy applications and overdrive mode with a 90kbps data rate for low latency communication across a wide voltage range of 1.7V to 5.5V.

In the simplest mode of operation, the TMP1827 1-Wire interface, with an integrated 8kV IEC-61000-4-2 ESD protection on the data pin, requires only a single connection and a ground return in bus-powered mode, which simplifies and reduces cost by reducing the number of wires and external protection components. The VDD power pin is also available for applications that may want a dedicated power supply.

Features

  • 1-Wire interface with multi-drop shared bus and cyclic redundancy check (CRC)
  • 1.7V to 5.5V bus powered with operating voltage 
  • IEC 61000-4-2 ESD for 8kV contact discharge
  • Functional Safety-Capable
    • Documentation available to aid functional safety system design
  • High-accuracy digital temperature sensor
    • TMP1827
      • ±0.2°C (maximum) from +10°C to +45°C
      • ±0.3°C (maximum) from –40°C to +105°C
      • ±0.4°C (maximum) from –55°C to +150°C
    • TMP1827N
      • ±0.9°C (maximum) from –55°C to +150°C
  • 94µA temperature measurement current 
  • 1.3µA shutdown current
  • 7.8125m°C (1LSB) 16-bit temperature resolution 
  • Fast data rates of 90kbps in overdrive speed
  • Flexible user-programmable short address modes for faster device address
  • SHA-256-HMAC authentication scheme
    • FIPS 180-4 compliant Secure Hash Implementation
    • FIPS 198-1 compliant HMAC Implementation
  • 2Kb EEPROM features
    • Write operation in 64-bit block size
    • Continuous read mode
    • Read with write protection with 256-bit page size
    • Authenticated write protection mode with 256-bit page size
    • 178 µA programming current 
  • NIST traceable factory-programmed non-erasable 64-bit identification number for device addressing
  • Four configurable open-drain digital input-output and temperature alert

Applications

  • Factory automation and control
  • Appliances
  • Medical accessories
  • CPAP machines
  • Battery charger ICs
  • EV charging infrastructure
  • LED lighting
  • Temperature transmitters
  • Cold chain

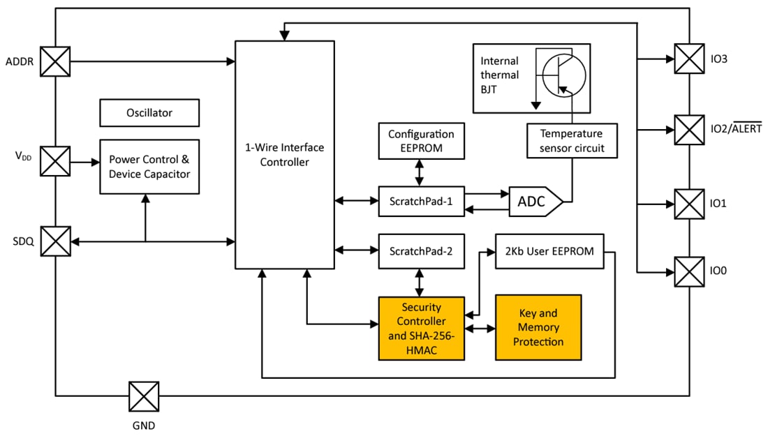
Functional Block Diagram

Block Diagram - Texas Instruments TMP1827 Digital Temperature Sensor
Published: 2023-06-21 | Updated: 2023-10-30